BI+AI云平台
演示平台
免费下载
AI智能体

应收的财务数据分析报表这样做,才是真的一清二楚

应收在财务中占据了重要地位,也是每次做财务数据分析时都避无可避的一大主题。但是应收涉及的范围广、数据信息复杂,怎么做财务数据分析报表才能把应收这一块做得清清楚楚?

奥威BI工具在体验平台分享了以应收为主题的财务数据分析报表,算是给大家做了一个示范。我们这就截取其中两张报表截图,和大家一起感受一下使用BI智能数据可视化分析工具做出来的应收数据可视化分析报表会有怎样的效果。

应收账龄按客户

这是一张针对性分析不同客户的应收财务数据分析报表。在该报表下,你可以直观看到与该客户相关的应收款项,比如说不同账龄内应收余额还有多少,来自不同部门的应收余额又还有多少,与此同时还可以具体的应收明细。

由于使用了筛选,使用者可以通过点击的方式来迅速查看不同客户在不同时间段内的应收款项,因此整个应收的财务数据分析都能展现地直观易懂,十分利于使用者快速了解各个客户的应收款项。

奥威BI财务数据分析 

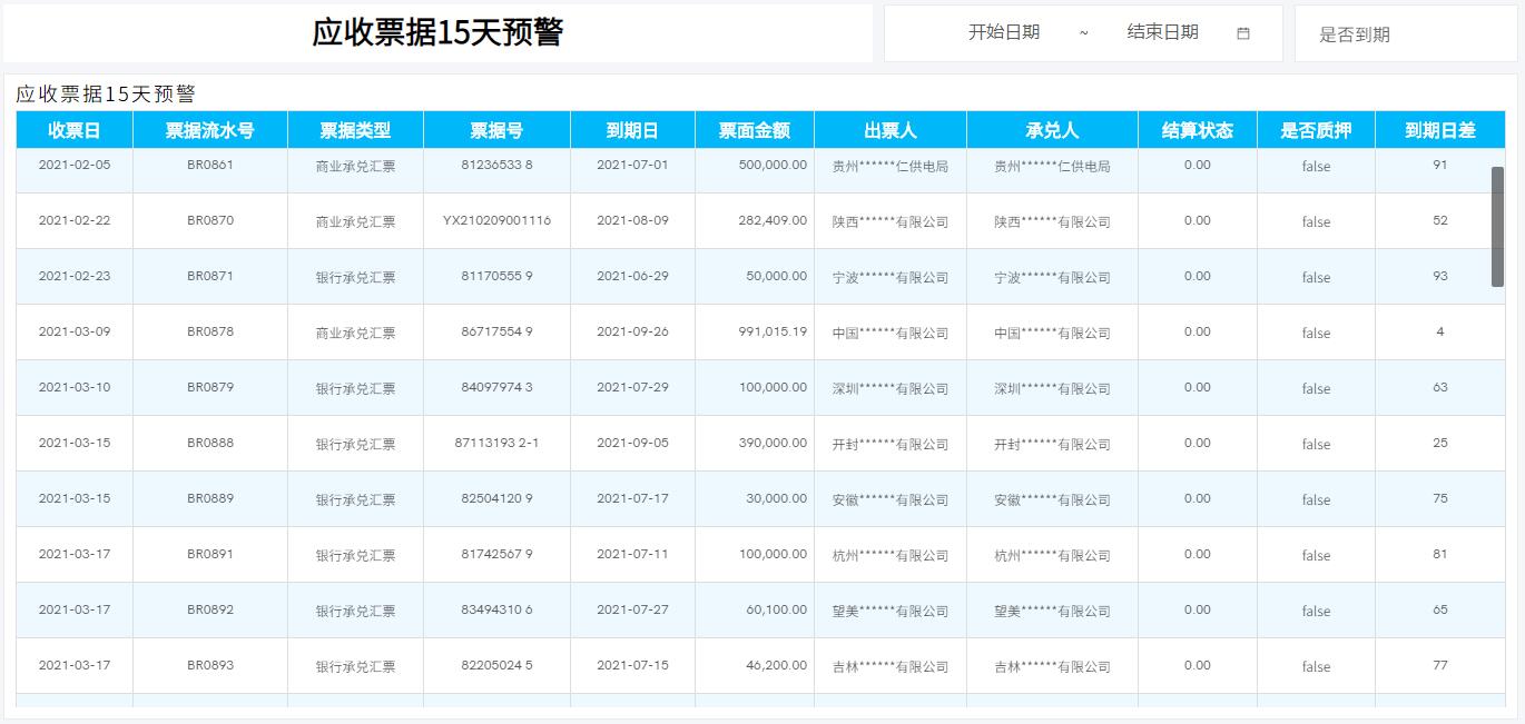
应收票据15天预警

这是一张可以自由选择开始日期、结束日期又或者是根据是否到期来筛选数据,快速找到符合条件的应收票据的报表。主要以筛选结合简表,24小时滚动数据的方式来展现数据。

通过该报表,相关负责人可以更及时地处理应收项,避免产生应收逾期的情况。同类型的报表还有应收票据_到期逾期分析报表。

奥威BI财务数据分析报表 

应收数据分析地清楚了,企业才能更及时安排款项收取计划,避免应收款项逾期,影响企业的财务计划。

奥威BI工具提供完整的标准智能财务分析方案,无缝对接金蝶等财务系统,预设数据分析模型和报表模板,帮助企业迅速建立起智能化、可视化的财务数据分析平台,实现财务智能可视化。感兴趣的朋友可通过奥威软件的体验中心体验智能财务数据可视化分析报表效果!